Equipment Number Calculator (EN)

Introduction

Equipment Number (EN)

The Equipment Number (EN) is a key parameter in naval architecture. It determines the required anchoring equipment for ships based on their size, windage area, and exposure to environmental forces.

The EN is calculated using the formula:

\begin{align} EN = \Delta^{\frac{2}{3}} + 2.0(hB + S_{fun}) + \frac{A}{10} \end{align}

where Δ, B, h, Sfun, and A represent the ship’s displacement, breadth, height, funnel area, and side projected area, respectively.

This EN Calculator simplifies the process of determining the Equipment Number for naval architects and marine engineers. By inputting key ship dimensions, the calculator instantly provides the EN value, allowing users to select the appropriate anchoring equipment from IACS tables.

Definiton of LBWL
Definition of LBWL
Definiton of LBWL
Definition of LBWL

Limitations

Calculator

Description Symbol Value Unit
Moulded displacement to the summer load waterline Δ t
Moulded breadth B m
Vertical distance at hull side from the Summer Load waterline amidships to the upper deck a m
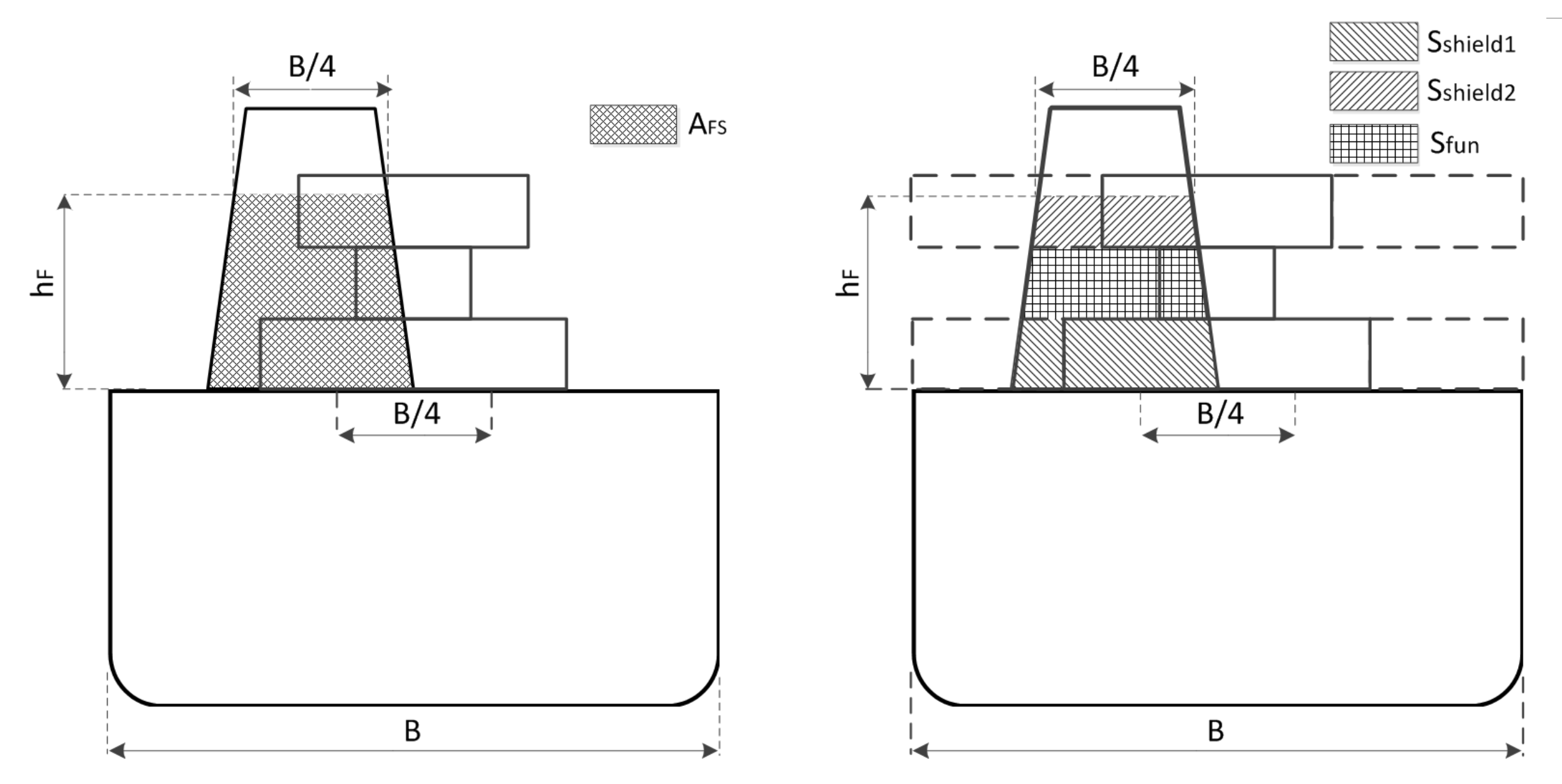
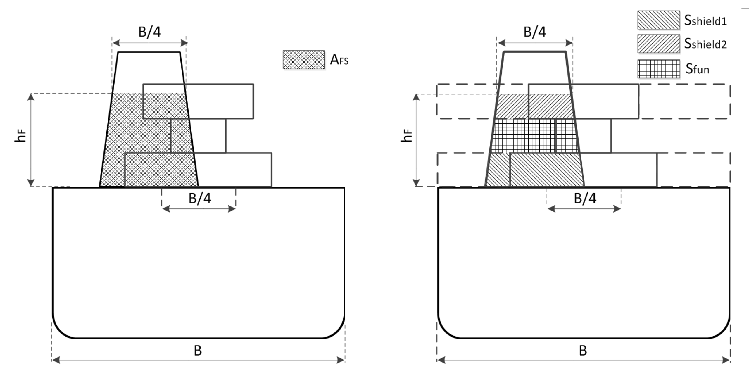
Effective front projected area of the funnel. Sfun m2
side projected area, in m2, of the hull, superstructures, houses and funnels above the Summer Load waterline which are within the equipment length of the ship and also have a breadth greater than B/4. The side projected area of the funnel is considered in A when AFS is greater than zero. In this case, the side projected area of the funnel should be calculated between the upper deck, or notional deck line where there is local discontinuity in the upper deck, and the effective height hF. A m2
Height on the centreline of each tier of houses having a breadth greater than B/4; for the lowest tier h1 is to be measured at centreline from the upper deck or from a notional deck line where there is local discontinuity in the upper deck, see figure above for example h1 m
h2 m
h3 m
h4 m
h5 m
h6 m
h7 m
h8 m
h9 m
h10 m